• PS5 Pro
    • Gry ulepszone na PS5 Pro
  • PlayStation
    • PlayStation 5
    • PlayStation 4
    • PSVR
    • PS Vita
    • Poradnik: jak zacząć z PS4?
  • Xbox
    • Xbox Series X|S
    • Xbox One
    • Poradnik: jak zacząć z konsolą Xbox?
    • Testy klawiatur i myszek
      • Logitech G910 i G502 Hero
      • HyperX Alloy Core i PulseFire Core
  • Nintendo
    • Switch 2
      • Nintendo Switch 2
      • Zestawienie wszystkich gier i ulepszeń
    • Switch
    • 3DS
    • WiiU
    • Poradnik: jak zacząć z NSwitch?
  • PC
    • Asus ROG Ally
    • Lenovo Legion Go
    • MSI Claw
    • Steam Deck
  • Recenzje
    • Testy sprzętu
    • PS Vita
    • PS4
    • PS5
    • Xbox One
    • Xbox Series
    • Nintendo
    • Steam Deck
  • Kultura
    • Filmy i seriale
    • Gry planszowe
    • Recenzje
    • Wszystko
  • Redakcja
5 dni temuKonrad Bosiacki

Cyberpunk 2077 na PS5 Pro vs PS5 – pełne porównanie jakości i wydajności

1 tydzień temuKonrad Bosiacki

Resident Evil Requiem na PS5 Pro vs PS5. Czy PSSR 2 zmienia wszystko?

1 tydzień temuKonrad Bosiacki

Crimson Desert na PS5 Pro vs PS5 – spory skok jakości obrazu

Zdjęcie okładkowe wpisu PS VR – kolejny patent na kontroler z analogiem

PS VR – kolejny patent na kontroler z analogiem

6 lat temu Bartosz Kwidziński
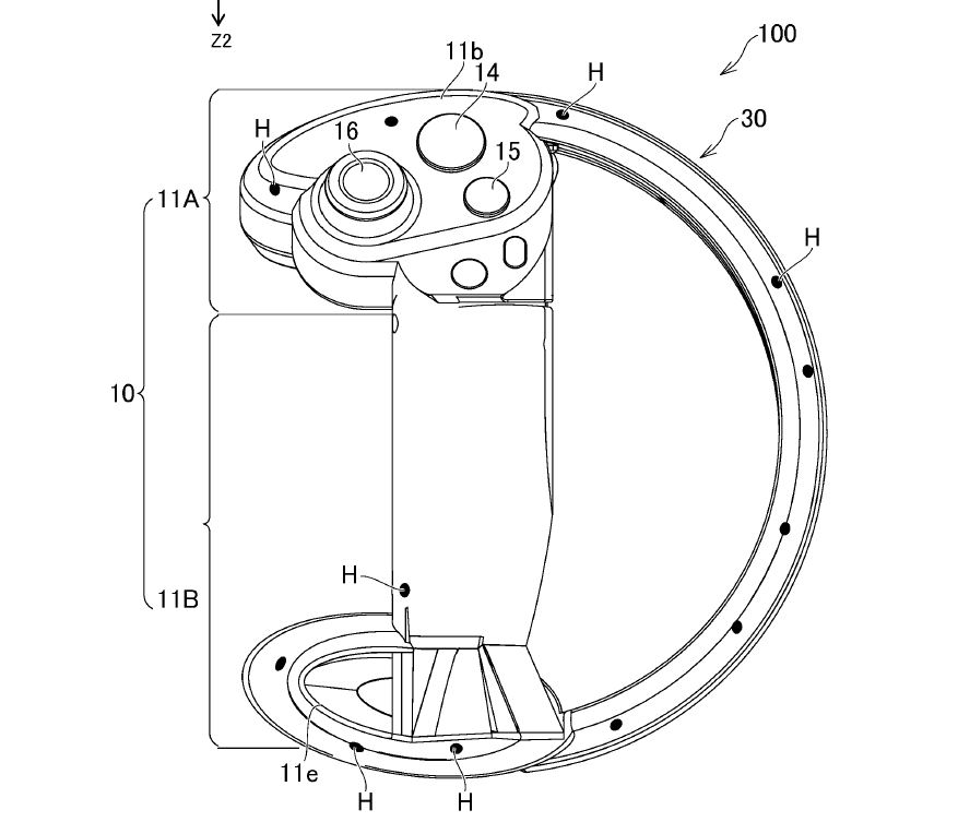
Możliwe, że PS VR dostanie kontroler zastępujący PS Move. Zgodnie z patentem będzie on wyposażony w gałkę analogową.

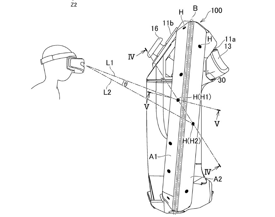
PS VR niewątpliwie posiada zaimplementowany dość specyficzny sposób poruszania naszą postacią w grać. Ze względu na brak gałki analogowej w kontrolerze nierzadko musimy wykonywać dość kuriozalne ruchy, trzymanym PS Move, aby wysłać naszą postać w odpowiednie miejsce. Często występuje też teleportacja do wskazanego punktu, co skutecznie potrafi zburzyć imersję. Wygląda na to, że Sony dostrzega problem. Złożono wniosek patentowy na kontroler ruchowy wyposażony w gałkę analogową. Jego schematy możecie obejrzeć niżej.

Co ciekawe, na powyższych grafikach można zauważyć sensory umieszczone z tyłu kontrolera. Czyżby oznaczało to, że PlayStation zrezygnuje ze śledzenia kontrolerów na podstawie umieszczonej przed nami kamery? Interesująco wygląda też sam projekt gogli – możliwe, że przedstawia on bezprzewodowe PS VR. Takie urządzenie na pewno byłoby wygodniejsze i umożliwiłoby unikanie zaplątywania się w kabel. Na oficjalne potwierdzenie tych domysłów musimy poczekać aż PlayStation zabierze głos. Pamiętajmy też, że to jedynie patent – nie można brać za pewnik zgłoszonego pomysłu.

Źródło: VG24/7

Podziel się:

  • Share on X (Otwiera się w nowym oknie) X
  • Share on Facebook (Otwiera się w nowym oknie) Facebook
  • Share on Telegram (Otwiera się w nowym oknie) Telegram
  • Share on WhatsApp (Otwiera się w nowym oknie) WhatsApp

Parent PlayStation 4 PlayStation VR PS VR PS4

Bartosz Kwidziński

Korektor i recenzent portalu Konsolowe.info. Posiadacz konsol PS5, Nintendo Switch 2 oraz gogli Meta Quest 3.
Ulubione gatunki gier: akcja, przygodówki, platformówki, slashery, skradanki, RPG, muzyczne.
Ulubione gatunki muzyczne: rock/hard rock/metal.

Dołącz do dyskusji

Zaloguj się lub załóż konto, by skomentować ten wpis.

Gran Turismo 7 z darmową aktualizacją 1.68. Trzy nowe auta i cztery wyścigi już dostępne

Gran Turismo 7 otrzymało darmową aktualizację 1.68. Patch dodaje trzy samochody oraz cztery nowe wyścigi w World Circuits.

Nintendo Switch 2 najszybciej sprzedającą się konsolą w Stanach

Nintendo Switch 2 trafił do sklepów w czerwcu. Po miesiącu od wydania nowa konsola zdeklasowała PS4 pod względem szybkości znikania z półek.

Beat Saber oficjalnie kończy wsparcie dla PlayStation VR i VR2

Beat Games ogłosiło, że ich największy hit w postaci Beat Saber traci wsparcie dla konsol PlayStation. Gracze nie są zadowoleni.

PlayStation zapowiada koniec programu Stars

Jeżeli korzystacie z programu lojalnościowego PlayStation Stars, to nie mam dla Was dobrej wiadomości. Nadchodzi jego koniec. Szczegóły znajdziecie w rozwinięciu newsa.

PlayStation Plus przestanie regularnie oferować gry wyłącznie na PS4

Powoli zbliża się koniec oferowania tytułów na konsole PlayStation 4 dostępnych w ramach comiesięcznej subskrypcji.

Little Nightmares III z kolejnym zwiastunem

Nadchodząca odsłona serii Little Nightmares dostała nowy zwiastun. Możecie go oczywiście obejrzeć w rozwinięciu newsa.

📊 Najbardziej wyczekiwana premiera kwietnia 2026 to...?

Zobacz wyniki

Loading ... Loading ...

HOT

7 godzin temuKonrad Bosiacki

Dlaczego Euro Truck Simulator 2 i ATS na konsole powstają tak długo?

Twórcy Euro Truck Simulator 2 i American Truck Simulator tłumaczą, dlaczego porty na PS5 i Xbox są tak trudne. Pojawia się też temat Switch 2.

9
1 dzień temuKonrad Bosiacki

Recenzja: Pragmata (PS5) – Kosmos emocji

Capcom zabiera graczy w Kosmos, aby zaserwować nam niezapomnianą i pełną emocji przygodę, której bohaterami są człowiek i android. Zapraszam na recenzję gry Pragmata.

1 dzień temuKonrad Bosiacki

Metro 2039 oficjalnie zapowiedziane. Xbox ujawnia datę i szczegóły pokazu

Koniec spekulacji. Metro 2039 zostało oficjalnie potwierdzone przez Xbox. Pierwsza prezentacja odbędzie się już w tym tygodniu podczas specjalnego wydarzenia.

5 dni temuBartosz Dula

Szaleństwo pocisków w nowych fragmentach rozgrywki z Saros

Premiera Saros nadchodzi wielkimi krokami. Na nowych fragmentach rozgrywki zobaczymy starcia rodem z klasycznych gier bullet hell.

1 tydzień temuKonrad Bosiacki

PlayStation uruchamia Playerbase. Fani trafią do gier od PlayStation Studios!

Czy chciałbyś zobaczyć siebie jako postać w świecie Gran Turismo 7 lub innej grze od Sony?

7
1 tydzień temuKonrad Bosiacki

Recenzja: Kena: Bridge of Spirits (Switch 2) – Piękna podróż z technicznymi problemami

Kena: Bridge of Spirits na Switch 2 zachwyca stylem, ale rozczarowuje technicznie. Sprawdzamy port i porównujemy go z wersją PS5.

  • Redakcja KONSOLOWEinfo
  • Kontakt
  • Polityka Cookies
Copyright 2012 - 2026 © Konsolowe.info
Strona wykorzystuje pliki cookie.

Personalizacja reklam

Hej! Wiemy, że chcesz jak najszybciej wziąć się za czytanie. Krótko i szybko więc:

Na naszej stronie wyświetlamy reklamy AdSense (Google). Od Ciebie zależy, czy będą one personalizowane, czy nie.

  • Personalizowane reklamy wykorzystują dane zebrane o Tobie dane z innych witryn, jest więc większa szansa, że wyświetlą coś, co faktycznie Cię interesuje.
  • Jeśli wolisz jednak reklamy totalnie przypadkowe, wyłącz ich personalizację poniżej.