PlayStation może pracować nad rozwiązaniem, dzięki któremu dostosujemy pod siebie wysokość analogów. Wskazuje na to zgłoszony patent.
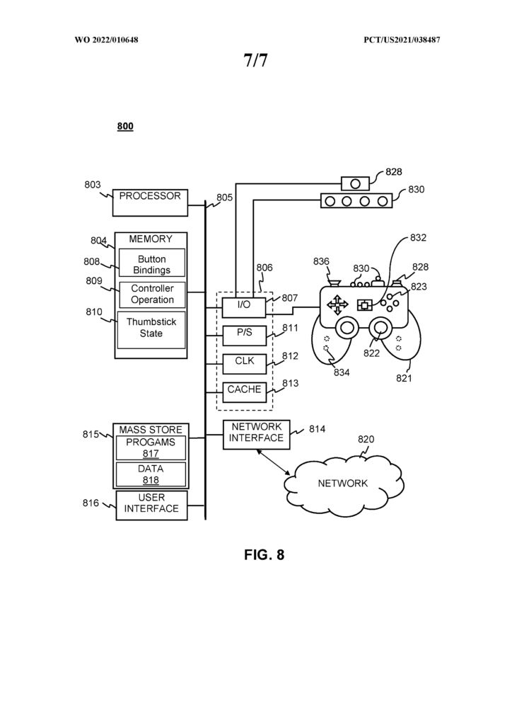
PlayStation wyraźnie nie przestaje pracować nad nowymi rozwiązaniami. Niedawno pisałem o potencjalnej opcji skanowania przedmiotów z naszego otoczenia, by następnie przenieść je do gry. Odpowiedni wpis możecie przeczytać po udaniu się na tę stronę. Japoński gigant, jak wiele firm, zgłasza oczywiście sporo patentów. Jednym z nich jest projekt, który opublikowano 13 stycznia. Dotyczy on preferencji graczy i możliwości spersonalizowania kontrolera. Nie wiadomo oczywiście, czy będzie to dotyczyło którejś z ewentualnych przyszłych wersji DualSense’a. Niewykluczone też, że projekt ten wystąpi dopiero przy kolejnej generacji. Niżej możecie przyjrzeć się szkicom koncepcyjnym.
Pełną treść patentu możecie przeczytać na tej stronie. Naturalnie nie wiadomo, czy projekt spotka się w ogóle z realizacją. Normą jest zgłaszanie wielu wniosków, ale nie ma takiej reguły co do ich wykonywania. Jeśli zmienna wysokość gałek analogowych okazałaby się być prawdą, na pewno damy Wam znać. Pamiętajcie więc, by regularnie do nas zaglądać. Bardzo chętnie poznamy Wasze zdanie – jak podoba się Wam opisana funkcjonalność? Czy możliwość ustawienia pod siebie wysokości analogów jest czymś, na co czekacie? Dajcie nam znać w komentarzach.
Znajdziecie nas również w mediach społecznościowych. Poniższe odnośniki zabiorą Was do naszych stron na Facebooku oraz Twitterze.
Źródło: Coindipender


Dołącz do dyskusji
Zaloguj się lub załóż konto, by skomentować ten wpis.