PS VR2, nadchodzące gogle wirtualnej rzeczywistości od Sony, nadal skrywają kilka asów w rękawie. Czy jednym z nich miałaby być możliwość przeniesienia obiektów z naszego otoczenia do gry?
PS VR2, nowa wersja gogli wirtualnej rzeczywistości od PlayStation, otrzymała niedawno nieco szczegółów. Pisałem oczywiście o nich w odpowiednim newsie. Możecie do niego przejść za pomocą niniejszego odnośnika. Wiele funkcji pozostaje jeszcze tajemnicą. Nie wiadomo na przykład, kiedy PlayStation VR2 ma trafić do chętnych użytkowników, ani ile trzeba będzie zapłacić za ten sprzęt. Nie ma też pewności co do sposobu zamawiania czy rezerwowania gogli. Wobec tego na pewno jeszcze wrócimy do tego tematu. Natomiast dziś warto przyjrzeć się pewnemu patentowi, który zaktualizowało Sony. Niżej możecie przyjrzeć się jego wizualizacji.

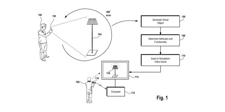
Wygląda na to, że Sony pracuje nad przenoszeniem zeskanowanych przedmiotów z naszego otoczenia do gry. Niewątpliwie nowe gogle, PS VR2, byłyby interesującym narzędziem do zrealizowania tego konceptu. Niewykluczone, że technologia ta mogłaby być wykorzystana również poza grami dedykowanymi wirtualnej rzeczywistości. Kiedy tylko dowiemy się czegoś więcej na ten temat, damy Wam oczywiście znać. Pamiętajcie więc, by regularnie do nas zaglądać. Dajcie nam znać, co o tym sądzicie. Chcielibyście móc przenieść przedmioty z Waszego salonu lub pokoju gracza do wirtualnego świata? Czekamy na Wasze komentarze.
Źródło: GameRant
Dodaj komentarz