• PlayStation
    • PS5 Pro
      • Gry ulepszone na PS5 Pro
    • PlayStation 5
    • PlayStation 4
    • PSVR
    • PS Vita
    • Poradnik: jak zacząć z PS4?
  • Xbox
    • Xbox Series X|S
    • Xbox One
    • Poradnik: jak zacząć z XOne?
    • Testy klawiatur i myszek
      • Logitech G910 i G502 Hero
      • HyperX Alloy Core i PulseFire Core
  • Nintendo
    • Switch 2
      • Nintendo Switch 2
      • Zestawienie wszystkich gier i ulepszeń
    • Switch
    • 3DS
    • WiiU
    • Poradnik: jak zacząć z NSwitch?
  • PC
    • Asus ROG Ally
    • Lenovo Legion Go
    • MSI Claw
    • Steam Deck
  • Recenzje
    • PS Vita
    • PS4
    • Xbox One
    • Nintendo
    • PS5
    • Xbox Series
    • Steam Deck
  • Testy
  • Kultura
    • Filmy i seriale
    • Gry planszowe
    • Recenzje
    • Wszystko
  • Redakcja
5 dni temuKonrad Bosiacki

Prezentownik 2025: Gry i akcesoria dla fanów PlayStation

1 tydzień temuBartosz Kwidziński

Prezentownik 2025: Co pod kątem komputerów przenośnych?

1 tydzień temuBartosz Dula

Prezentownik 2025: Najlepsze gry planszowe pod choinkę

1 tydzień temuBartosz Kwidziński

Prezentownik 2025: Jakie gry i akcesoria z myślą o VR?

1 tydzień temuPatrycja Hoderna

Prezentownik 2025: Przytulne gry indie na długie zimowe wieczory

1 tydzień temuAngie Adams

Prezentownik 2025: Pomysły na prezenty dla graczy Xboxa

2 tygodnie temuBartosz Dula

Prezentownik 2025: Najlepsze prezenty dla fanów Nintendo

2 tygodnie temuKonrad Bosiacki

Prezentownik 2025: Najlepsze gamingowe książki dla graczy

Zdjęcie okładkowe wpisu Nowy patent Sony – robot, który towarzyszy podczas gry

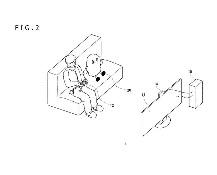
Nowy patent Sony – robot, który towarzyszy podczas gry

6 lat temu Tsumi Deshō

Sony ogłasza patent na nowego automatycznego towarzysza, którego celem jest towarzystwo dla graczy podczas rozgrywki.

Niedawno patenty Sony były najlepszym sposobem dla fanów i analityków, by uzyskać podstęp do specyfikacji PS5, ponieważ firma milczy nad bardziej ekscytującymi funkcjami nowego systemu. Jednak jeden z najnowszych patentów firmy pokazuje nieco inny kierunek.

Patent ten nie dotyczy systemu PS5, ani wysoce zaawansowanego kontrolera DualSense. Zamiast tego nowa technologia Sony wydaje się być związana z rozgrywką, lecz nie jest przeznaczona do bezpośredniego podłączania i grania z dowolnym konkretnym systemem.

Nowe urządzenie ma działać jako towarzysz dla graczy, ale nie jako wirtualny kumpel mieszkający w konsoli. Towarzysz ten przyjmuje postać przyjaznego małego robota, który siedzi z graczem i patrzy, jak gra. Zgodnie z patentem, nowy robot Sony jest w stanie wykrywać emocje graczy i reagować, dołączając do radosnych uczuć związanych z ukończeniem poziomu lub pokonaniem bossa, a także dzieląc się smutkiem i frustracją.

W tej chwili robot-towarzysz Sony jest opracowywany i nie ma nazwy. Jednak niektóre funkcje, takie jak możliwość rozpoznawania języka w celu określenia stanu emocjonalnego właściciela, mogą wydawać się nieco przerażające.

Podczas gdy niektóre technologie zawarte w nowym towarzyszu graniczą z mrocznymi końcami świata rodem z filmów science fiction, pomysł na takiego małego kumpla, który dotrzyma towarzystwa graczom, jest całkiem interesujący.

źródło: gamerant.com

Podziel się:

  • Kliknij, aby udostępnić na X (Otwiera się w nowym oknie) X
  • Kliknij, aby udostępnić na Facebooku (Otwiera się w nowym oknie) Facebook
  • Kliknij, aby udostępnić na Telegramie (Otwiera się w nowym oknie) Telegram
  • Kliknij, aby udostępnić na WhatsApp (Otwiera się w nowym oknie) WhatsApp

Sony The Robot Companion

Tsumi Deshō

Round One... Fight! Krwawe fatality jej nie straszne. Nie rzuca padami, ale zdarza się jej nieco na nie nakrzyczeć. Wytatuowała sobie Scorpiona i Sub-Zero, może się też pochwalić Dragon Ballem na ramieniu. Kocha szybkie samochody, koty, horrory i anime. Do końca nie wie czego chce, ale nie spocznie, dopóki tego nie osiągnie. W końcu pokonała Lilith w Diablo IV.

Dołącz do dyskusji

Zaloguj się lub załóż konto, by skomentować ten wpis.

Nadchodzi limitowana edycja kontrolera DualSense z motywem Genshin Impact 

Sony w tym roku postanowiło zrobić prezent fanom gry Genshin Impact. Kiedy mogą się go spodziewać?

Twórcy z Housemarque zdradzają więcej o nadchodzącym Saros

Housemarque udostępniło materiał, w którym twórcy komentują najnowszy zwiastun Saros. Nadchodzi wiele nowości względem Returnal!

Streamuj gry ze swojej biblioteki prosto na PlayStation Portal

Streamuj gry ze swojej biblioteki prosto na PlayStation Portal...

Sony zabiera gigabajty z PlayStation 5 Slim

Szybkie dyski SSD to bez wątpienia największa zaleta obecnej generacji konsol.

Sony wydaje album na 30 rocznicę PlayStation

Sony wydaje album na 30 rocznicę PlayStation...

State of Play – relacja z wrześniowego pokazu [wpis aktualizowany]

Już dziś, 24 września, o godzinie 23:00 rusza pokaz State of Play. Przekonajmy się wspólnie, w co zagramy na PlayStation w przyszłości!

📊 Jakiej kategorii najbardziej brakuje Wam na The Game Awards?

Zobacz wyniki

Loading ... Loading ...

HOT

16 godzin temuKonrad Bosiacki

Gracze i media jednoczą się w sprawie braku polskiej wersji Tomb Raider: Legacy of Atlantis

Tomb Raider: Legacy of Atlantis aktualnie nie ma w planach polskiej wersji. Ale Twój głos może to zmienić!

2 dni temuKonrad Bosiacki

Microsoft kończy wspieranie Forza Motorsport

Forza Motorsport nie otrzyma już żadnych nowych pojazdów, tras ani poprawek błędów. Microsoft i jego studio skupia się na Forza Horizon 6.

Ikona gry ARC Raiders
2 dni temuAngie Adams

ARC Raiders: gdzie znaleźć Candleberries na Spaceport?

Czas na kolejną mapę i pomóc w szukaniu Candleberries. Gdzie się udać na Spaceport? Sprawdźcie nasz poradnik.

4 dni temuKonrad Bosiacki

Recenzja: Razer Raiju V3 Pro – drapieżny pro kontroler do PS5

DualSense Edge jest z pewnością najpopularniejszym pro kontrolerem do konsoli PS5. Czy Razer Raiju V3 Pro może zagrozić królowi? Tego dowiesz się z naszego testu.

4 dni temuKonrad Bosiacki

STALKER 2: Heart of Chornobyl otrzyma jutro darmową aktualizację fabularną!

Zona wzywa! STALKER 2: Heart of Czarnobyl już jutro, 16 grudnia otrzyma darmową aktualizację z kilkoma misjami fabularnymi.

1 tydzień temuBartosz Kwidziński

TGA 2025: Control Resonant – oficjalna nazwa „dwójki” i sporo informacji

Gala The Game Awards 2025 przyniosła sporo interesujących wiadomości – między innymi zapowiedź Control Resonant. W rozwinięciu newsa znajdziecie mnóstwo informacji.

  • Redakcja KONSOLOWEinfo
  • Kontakt
  • Polityka Cookies
Copyright 2012 - 2025 © Konsolowe.info
Strona wykorzystuje pliki cookie.

Personalizacja reklam

Hej! Wiemy, że chcesz jak najszybciej wziąć się za czytanie. Krótko i szybko więc:

Na naszej stronie wyświetlamy reklamy AdSense (Google). Od Ciebie zależy, czy będą one personalizowane, czy nie.

  • Personalizowane reklamy wykorzystują dane zebrane o Tobie dane z innych witryn, jest więc większa szansa, że wyświetlą coś, co faktycznie Cię interesuje.
  • Jeśli wolisz jednak reklamy totalnie przypadkowe, wyłącz ich personalizację poniżej.