Jeden z użytkowników serwisu Twitter znalazł w kodzie systemu konsoli Nintendo Switch nawiązanie do VR.
Jak można zobaczyć na poniższej grafice, nad kodem odpowiedzialnym za sprawdzanie domyślnej rozdzielczości, czy aktualizacją kontrolerów konsoli, znajdują się dwie linie sugerujące powstawanie trybu VR. Cody Brocious sądzi także, że kod ten nie jest pozostałością od Nvidii i został on napisany przez Nintendo.

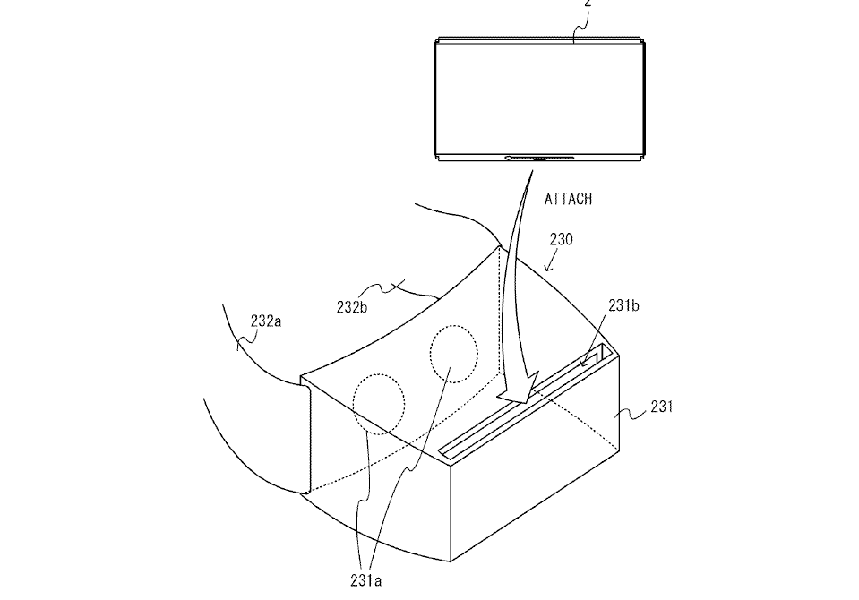
Powstanie headsetu VR dla konsoli Nintendo Switch jest także całkiem możliwe, biorąc pod uwagę fakt posiadania przez Nintendo patentu na takie urządzenie. Niestety, zestaw taki działałby na zasadzie podobnej do Google Cardboard.

Inną niedawno odkrytą sprawą jest fakt, że konsola Nintendo Switch pozwala na korzystanie z czatu głosowego w Splatoon 2 bez zewnętrznej aplikacji. Niestety, nie działa to podczas rozgrywek sieciowych, a wyłącznie podczas gry po sieci LAN, gdy wszystkie konsole są podłączone do jednego routera. Wówczas w Local Multiplayer Lobby należy wcisnąć kombinację przycisków: L + R + prawa gałka przez parę sekund, dopóki nie pojawi się napis informujący o tworzeniu rozgrywki LAN. Po spełnieniu tych warunków i podłączeniu pod konsolę zestawu słuchawkowego z mikrofonem można skorzystać z czatu głosowego. Konsola potrafi dzielić w trakcie zabawy graczy drużynami tak, by wrogi zespół nie mógł podsłuchiwać. Niestety, taki czat głosowy nie przyda się poza lokalnymi turniejami w Splatoon 2, gdzie wszyscy gracze znajdują się w jednym budynku.
Źródło: https://aotf.com/news/nintendo-switchs-operating-system-has-references-to-vr-hidden-in-its-code/ Źródło: http://www.kotaku.co.uk/2017/08/29/switch-doesnt-need-a-smartphone-app-for-voice-chat
Dołącz do dyskusji
Zaloguj się lub załóż konto, by skomentować ten wpis.