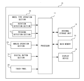
Nintendo patentuje całkiem sporo ciekawych funkcji, pozwalających domyślać się, co może posiadać następna stacjonarna konsolka firmy. Tym razem patent dotyczy gamepada, a dokładniej przycisków L/R. Mają one przypominać pod względem działania rolkę znaną z komputerowej myszy, co może pomóc np. w szybszym wybieraniu przedmiotów z inwentarza.
Krzysztof Jankowski
Fan gier od małego. Przy Pegasusie i Gameboyu spędził ogromne ilości godzin. Posiadacz Wii U, Wii, 3DSa i kilku konsol konkurencji. Ulubione gatunki gier to wyścigi i platformówki. W grach najważniejsza dla niego jest grywalność, oprawę wizualną odstawia na dalszy plan.
Five Nights at Freddy’s: Secret of the Mimic trafi na Nintendo Switch
Już wkrótce nastąpi premiera gry Five Nights at Freddy’s: Secret of the Mimic na konsoli Nintendo. Kiedy dokładnie można się jej spodziewać?
Phasmophobia trafi na Nintendo Switch 2
Przygotujcie swój sprzęt do polowania na duchy. Phasmophobia już wkrótce trafi na nową konsolę Nintendo.
TGA2025: Nowy zwiastun filmu The Super Mario Galaxy Movie
TGA2025: Nowy zwiastun filmu The Super Mario Galaxy Movie...
Prezentownik 2025: Najlepsze prezenty dla fanów Nintendo
Święta to idealny moment, by obdarować bliskich graczy czymś związanym z ich pasją. Oto nasze propozycje prezentów dla fanów Nintendo!
Recenzja: Kirby Air Riders [Switch 2]
W 2003 roku na konsolę Nintendo GameCube trafił Kirby Air Ride – tytuł nietypowy i dość niszowy, zwłaszcza poza Japonią.
Nadchodzi limitowana edycja kontrolera DualSense z motywem Genshin Impact
Sony w tym roku postanowiło zrobić prezent fanom gry Genshin Impact. Kiedy mogą się go spodziewać?




Dołącz do dyskusji
Zaloguj się lub załóż konto, by skomentować ten wpis.